珠海钜能新能源有限公司
zhuhai gainan new energy co.,ltd

Button type lithium ion battery

纽扣式锂离子电池

可定制,满足各种标准或者非标产品

高倍率体系
能满足5C电流充电要求

公司优势

COMPANY ADVANTAGES

     

    

当前位置:

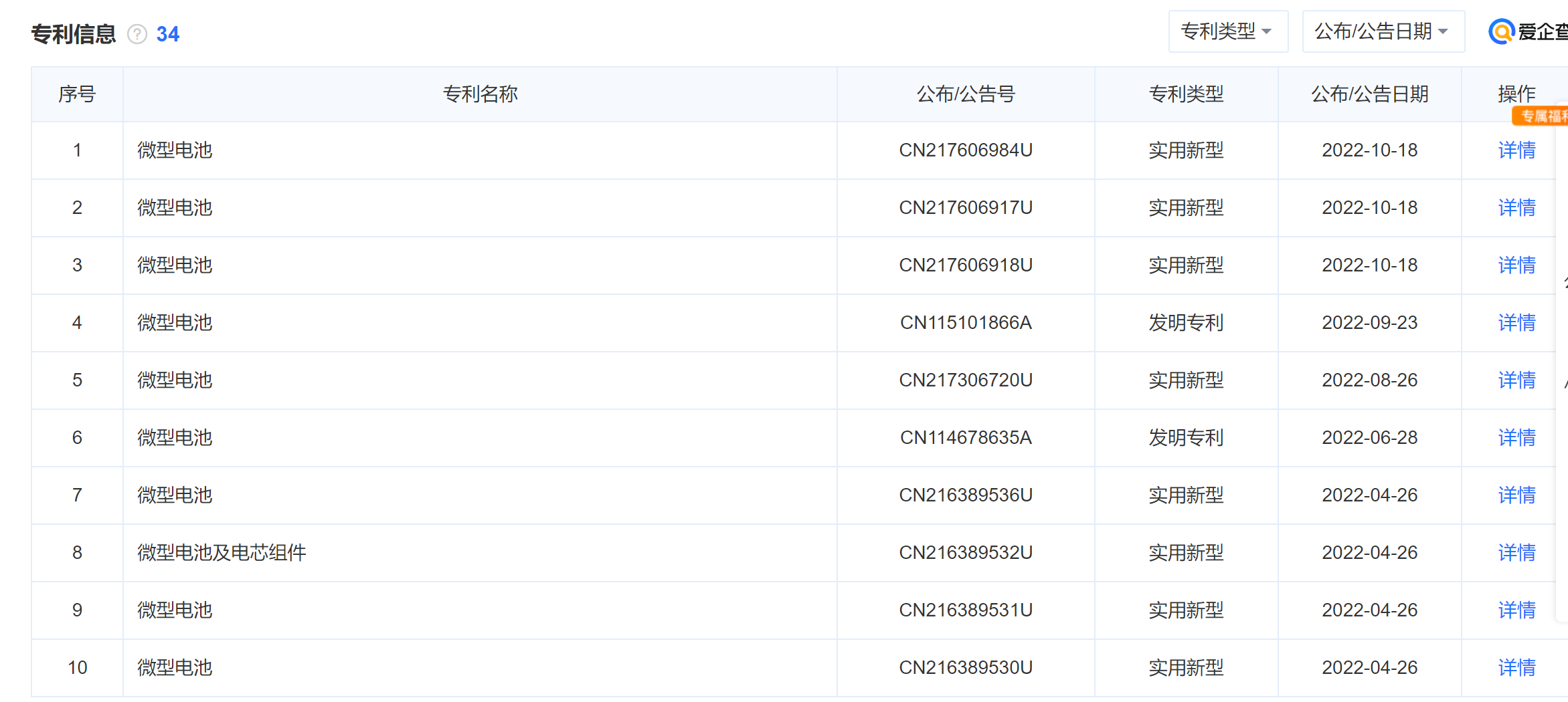
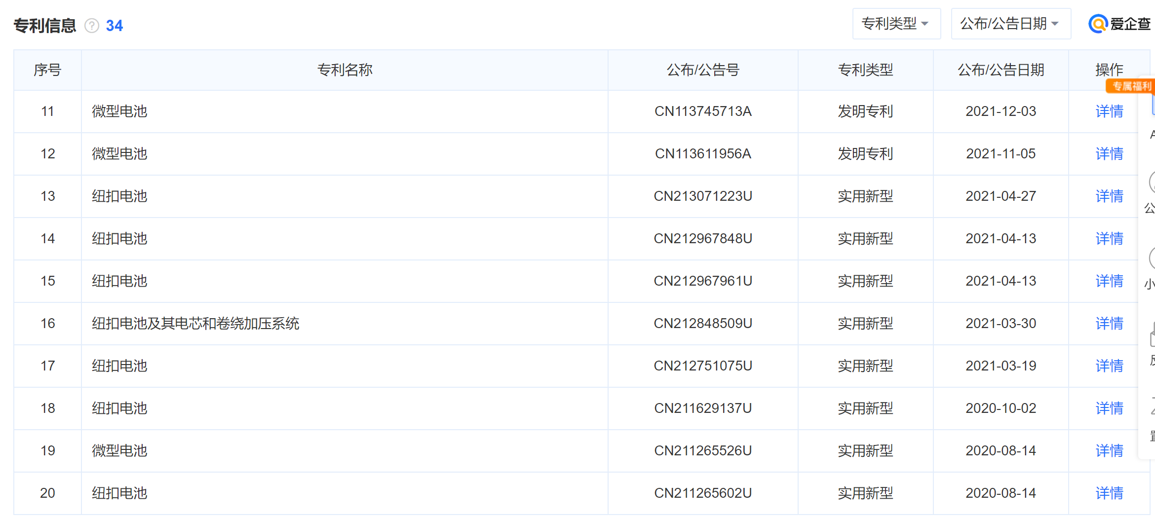
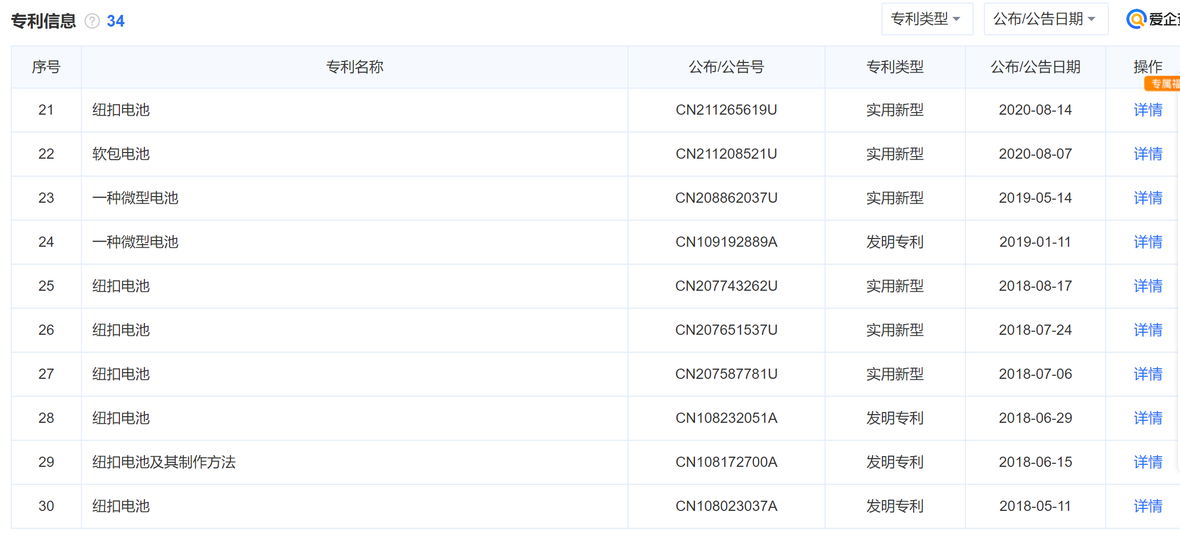
公司优势 | 34项专利
交期(MP:20天)
自主研发制造能力
项目导向驱动
提供研发团队上门设计/培训
柔性化集成设计
完整供应链配套

成本
成熟的硬件平台
配套测试仪器
关键部件生产能力
公司优势 | 交期/质量/成本
质量
质量管控
设计验证
出货品质检验

公司优势 | 生产设备
公司优势 | 生产流程
制浆
涂布

分切
组装
焊接
化成
分选
注液

老化
符合环保.消防.行业规范

全自动化流程,体系认证

工厂采用数据采购.数据追溯的MES系统

车间无尘等级,研发选材使用认证行业顶级材料
公司优势 | 检验设备
公司配有完善的研发、测试手段,能满足锂离子电池关键原材料评估、电池电性能(容量、循环、倍率)、温度性能(高低温储存、高低温循环等)、安全性能(过充、过放、短路、热滥用等)、电池异常拆解分析等性能评估要求